![图片[1]-第8期【稳品计划】招募中~选对产品深耕,稳住心态前行!-涛哥](https://www.taoge888.com/wp-content/uploads/2026/03/20260317212922356-7367682499e88736d5b6e95485e2ea90-1024x436.jpg)
大家新年好,年复一年,日复一日,今年也算是在互联网的第8个年头了,再次祝愿所有粉丝,马年能够马到成功,在互联网也能拿一个满意的结果!
今年我开创了‘稳品计划“,很多人不明白什么叫做稳品计划?就是字面意思,想稳赢,做稳品,产品是互联网的根基,做一个靠谱的,能够落地长久的产品才是实实在在的,否则说其他任何模式都是扯淡!
言归正传,我想说:
所有变现、所有模式,归根到底都得靠好产品撑着。
现在很多人天天喊共创 IP、一人公司这些新词,听着高大上,本质还是在做项目。
别被花哨名词忽悠,与其包装概念,不如沉下心选对一款靠谱的产品。
关于《稳品计划》,这些话我必须先跟你说清楚
我之所以命名为:稳品计划,是因为我想通过”稳品“这两个字概括我的来时路,实话实说,没有啥一帆风顺,也没有贵人相助,0-1其实是我熬了无数个日夜换来的,我今天可以抬起头的说,不要听信外面什么牛逼的模式,什么牛逼的风口?
真正的风口就是---你自己!记住再好的模式脱离了产品都是扯淡,再好的项目脱离了执行力都是放屁!
稳品:找对产品,稳住心态,砥砺前行!
下面这篇文章,是我定义”稳品计划“名字的由来:
不要在互联网找一步登天的捷径,涛哥给你说点实话
说实话,做了 7 年互联网,今年第8个年头,我见过太多昙花一现的套路,这些 “捷径” 我真没有,也不敢教 —— 因为我清楚,靠这种东西赚来的钱,根本不长久。
我也做了一个持续更新的文章,会持续分析市面上一些付费产品的优缺点:
我始终只信两件事:有真技能才能变现,能坚持到底才会成。那种今天学、明天就想 “一步登天” 的事,涛哥做不到,我也没法把人带成 “速成高手”。
所以涛哥名言:与其做梦,不如下地干活!
说真话,干真事,人心正了,路就宽了!这是我的经验在此也给大家进行分析,看下面视频:
一、这一期新增了什么产品?
这一期的产品很多粉丝,都陆续咨询我快半个月,让我抓紧开放,毕竟第一次遇见一个产品利润那么高的,所以这段时间一直在整理SOP流程,以及优化交付的体系,和减少学员的动作。
先说一下,这一期王炸的服务:
1.对于宠物托运这个玩法的底层逻辑,就是通过公域平台引流有宠物托运需求的人,然后在私域进行成交。那么这里的关键就是–有需求的人
市面上99.9%人他们只会教你们如何引流有这个需求的人,不会直接给你们出售粉丝。
那么涛哥给所有VIP提供2个服务:
1.我直接教你们如何引流,如何获取精准的有宠物托运需求的粉丝,而且这个引流不封号,符合平台要求。
2.我可以直接把我的粉丝给你们进行出售,按一个粉丝8元给你们出售。这个价格是最低最低的,只给VIP提供这个服务。(这一个服务外面99.9%同行压根不会给你们,因为他们自己都不够吃,他们自己的粉丝都少的可怜)
3.很多人可能想学习单纯的如何获取这个宠物粉,然后进行出售,我可以按照10元/个给你们进行回收。
这才是头部的服务!所以说不同的交付团队和体量是没办法相提并论的哈哈
注:另外关于销售话术也是一并教学的,销售话术都是我整理好的,直接套用,手把手带你,销售+流量全部解决!
关于这个产品的收益情况,可以关注我每天的朋友圈和这篇文章:
这个产品现在布局的人,一定是非常香的,因为这是服务型项目,一定会有回头客,只要你的服务好,基本上能做到20~35%的回头客,加上利润非常可观,所以一定是今年值得每一个想拿结果去入手做的一个项目!
朋友圈每天都会反馈,大家可以看一下这个数据,猛不猛?(有疑问的直接找我视频验证就行)
这个产品是第二次对外开放,所有学员都由涛哥全程兜底负责。 老粉都清楚,咱们”稳品计划“每期价格都会上调, 看准了就别犹豫,直接上车。(信任我的第一波上车的也拿到结果了哈哈,这就是言必信,行必果!)
第一次上车的学员已经在半个多月都拿到了结果,一起来看一下(下方反馈视频直接点击观看)
二、稳品计划:3大核心产品
核心产品1:虚拟电商
【卖信息差】——一本万利
先看一下往期学员反馈:
![图片[2]-第8期【稳品计划】招募中~选对产品深耕,稳住心态前行!-涛哥](https://www.taoge888.com/wp-content/uploads/2026/04/20260403134448346-942f15f09571a427da307ffffded50e4-768x1024.jpg)
涛哥真心话:闲鱼虚拟作为入门级的副业项目,针对小白、副业人群是没任何没任何问题的,只要操盘手的执行力没问题即可,而且我们有着独特的教学方式,我们不会全部给完课程,我们是一课课学,没课有作业,要保证每个学员都可以学会吃透。当然了,我们也怕学员学了项目确没时间做,这样的话肯定是不行的。
先给大家把闲鱼虚拟项目,讲明白,让大家知道这个产品的底层逻辑,以及为啥是最适合新手的入门级副业?
首先说核心玩法,特别简单,不用复杂操作,就是在闲鱼上开个小店,专门卖各种无版权的虚拟资料——比如咱们平时常用的PPT模板、Excel表格模板、简历模板,还有各种电子版文档、学习资料、教程之类的(都是不用囤货、不用发货的那种)。
这里重点说下选品:选品得自己选,但大家不用愁,我们会直接给你一批虚拟资料的核心词根,你照着词根去搜、去选,就能找到热门、好卖的品,不用自己瞎琢磨,省超多时间。
最省心的就是发货和变现:有人在你店里拍单后,不用你手动发资料,系统会自动发货,特别省事;而且所有资料都存在网盘里,拍一单发一单,重复利用,没有任何发货成本、囤货成本,纯赚差价。除此之外,咱们还能顺带做网盘拉新,别人领资料的时候,你还能多赚一笔拉新收益,一份付出两份回报!
再说说大家最关心的售后和售前:售后基本等于没有,因为虚拟资料发出去就没法退回,很少有人找售后;售前咨询也看你选的品,大部分人都是直接拍单(也就是咱们说的静默拍单),不用你一直盯着回复,只有少部分人会问几句,比如“资料包含哪些内容”“怎么领取”,你不管是用电脑,还是用手机,抽空回复一下就行,不耽误事儿。
操作时间也特别灵活,完全不耽误主业,每天抽2-3个小时就够了——比如早上起床花半小时选品、上架,晚上下班花1-2小时回复咨询、优化商品,周末再集中整理下资料,不管是上班族、宝妈,还是学生党,想做副业的,都能兼顾,完全没压力。
重点说下成本,几乎可以忽略不计:除了一点点极低的进货成本(几块钱就能搞定一批资料,后续能重复卖,相当于零成本),其他没有任何开销。还有推广,咱们不用花冤枉钱投广告,只用闲鱼自带的闲鱼币推广就够了,后续如果需要多囤点鱼币,也只需要花一点点小钱,新手完全能承担。
设备要求也特别低,不用买专业设备:家里有一台电脑、一部手机,就完全能操作。最好是准备2-3部手机(方便多开店铺、多上商品,赚得更多),如果暂时没有多部手机也没关系,后续我们会教你用其他方法实现多开,不用你额外花钱买设备。
最后说一句关键的——执行力!这个项目是纯新手入门级的副业,门槛最低、操作最简单,只要你肯做,就能拿到结果。但如果三天打鱼两天晒网,看完课程就放着不操作,每天找借口没时间,那不管什么项目,都不可能做好,这个项目也不例外,只要你有执行力,踏踏实实干,就能赚钱!
核心产品2:公众号流量主
公众号的玩法有很多,获客到私域、开微信小店、做互选、接广告、小说、赞赏、以及流量主广告收益,咱们主要陪跑的内容是流量主广告收益,相对来讲简单易上手,想通过公众号获客的涛哥也会教。
废话不多说,来看看涛哥学员的反馈数据:
![图片[3]-第8期【稳品计划】招募中~选对产品深耕,稳住心态前行!-涛哥](https://www.taoge888.com/wp-content/uploads/2026/04/20260403140341391-f8912d639d8fee63e7c1e909887d4c3e-768x1024.jpg)
为什么公众号学员反馈那么猛:所有公众号学员都是线上一对一语音沟通先梳理流程和细节!!(这才是重交付)
![图片[4]-第8期【稳品计划】招募中~选对产品深耕,稳住心态前行!-涛哥](https://www.taoge888.com/wp-content/uploads/2025/11/20260411172616673-41e711cf5161803a7ca5a2eae3ca87b3-768x1024.jpg)
Ai公众号流量主顾名思义就是利用AI写爆文,但是文章的赛道有很多,这个需要实时调整,一旦进入流量池,收益会稳定3~4个月,基本上单天收益高的时候在600~800.普通的单天也就是100~200左右。
公众号有很多广告位收益,比如说底部广告位,留言区广告位,文中广告位等等,所以他的一个收益是多元化的,这就比较香了。
AI公众号玩法的优缺点:
优点:收益比较稳定,属于长期主义产品,而且公众号可以分为两个类目,一个是可以用来发布文章,赚取广告分成收益,另外也可以用来引流,为后期做自己IP做铺垫,也是一个免费的流量渠道。后期可以矩阵多账号操作。
缺点:属于慢节奏产品,实话实话市面上长久的产品从来不是快节奏的,它有一个沉淀的周期,因为平台类的产品需要逐渐进入流量池,另外需要长期输出,性子急,想赚快钱的不适合,起号周期一般在10-15天左右。
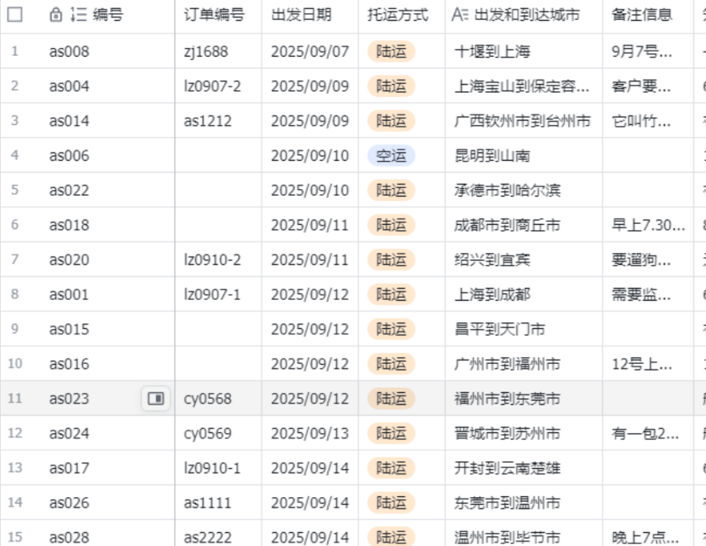
核心产品3:宠物赛道–宠物托运玩法
宠物托运 ,就是有些人没车,他要从一个地方到另外一个地方,比如有些年轻人打工的,他今年在广东工作,今年打工完了,明年换个地方干,他要回老家了,宠物要带回去,但是宠物不能坐汽车不能坐火车,所以他只能托运。
这个项目其实去年就在布局了,只是当时涛哥也在考察和优化,因为我做产品有个特点,就是跟谁学习我必须要等自己的水平能够超过学习的人了,我才会去教学,否则就没啥意义了
![图片[5]-第8期【稳品计划】招募中~选对产品深耕,稳住心态前行!-涛哥](https://www.taoge888.com/wp-content/uploads/2026/04/20260403141440850-image-1024x792.png)
目前涛哥项目团队日均单量在10~30单左右,平均每单利润100~200左右。单月营业额也是突破了30w,如果这个产品没有十足的底气,我是不会轻易外放的!
(记住涛哥的新产品一定要做第一波吃螃蟹的人)
![图片[6]-第8期【稳品计划】招募中~选对产品深耕,稳住心态前行!-涛哥](https://www.taoge888.com/wp-content/uploads/2026/04/20260403141622995-3034f5afa3f258acdf2b351e8b14e61b-768x1024.jpg)
先给大家说句实在的:这个项目,不吹暴利、不画大饼,但胜在绝对合规!没有套路、不碰红线,做着踏实,赚着安心,这才是长期赚米的根本!
更省心的是引流!咱们主要靠抖音引流,不用瞎琢磨复杂渠道,关键是不封号、不违规,新手也能轻松上手,不用怕辛苦做的号一夜归零,流量稳了,订单自然稳!
再说说咱们的赛道——宠物行业!这绝对是当下最火的阳光产业,没有之一!现在养宠物的人多到离谱,而且宠主对毛孩子的投入,说句夸张的,比养自己孩子还舍得,完全不计成本!
就像涛哥自己就养了一个泰迪,养了9年了!
![图片[7]-第8期【稳品计划】招募中~选对产品深耕,稳住心态前行!-涛哥](https://www.taoge888.com/wp-content/uploads/2026/04/20260403142544658-53d4ffa581a9bfbeec7530b2e35c2145-scaled-e1775197581910-768x1024.jpg)
不信你们去搜搜就知道:稍微有点品牌的猫粮,一斤都要20-30块钱!经常买菜的人都懂,咱们自己吃的排骨,一斤才多少钱?比猫粮还便宜!
更别说宠物医院了,毛孩子稍微有点不舒服,去打个针、拿点药,几百块钱就没了;要是生个小病住个院,几千块都是常事,宠主眼睛都不眨一下就付了!
重点来了:很多人的宠物都是领养的,没有名贵品种,看着不值钱,但一旦养久了,就彻底当成家里的一员、自己的“毛孩子”,这时候花钱就完全不看性价比了——只要能让毛孩子好,多花点都愿意!
最开始我也以为,宠物托运就是个小生意,没多少人需要,结果深入了解才发现,这市场大到超出想象!
为了确认这个市场的潜力,我特意问了豆包要数据,不看不知道,一看吓一跳——现在宠物托运的需求,早就爆了!
给大家补个实在数据:
![图片[8]-第8期【稳品计划】招募中~选对产品深耕,稳住心态前行!-涛哥](https://www.taoge888.com/wp-content/uploads/2026/04/20260403142225599-image.png)
然后我们在抖音评论区看看:
![图片[9]-第8期【稳品计划】招募中~选对产品深耕,稳住心态前行!-涛哥](https://www.taoge888.com/wp-content/uploads/2026/04/20260403142600931-image.png)
这个项目的核心有两个:
1、获客。也就是引流。传统的玩法是玩截流,你随便在一个宠物托运视频的评论区发一条从XX到XX。就会有很多同行过来关注你,私聊你。这种效率很低,而且截流的没啥信任度,所以成交率也低。
我们目前有几种素材模板,引流效果不错,而且有可持续性,转化率大概在15%左右。
2、后端承接。车辆资源以及站点的沟通是比较复杂的,你不可能同时跟全国几百个城市的站点谈合作,所以必须跟服务商合作,把单子交给服务商,让他们来完成,我们拿到属于我们的利润就行了。这个服务商我们是提供的。
这个项目还有一个好处是,有一定的复购率和转介绍,有30%左右的客户,找我们托运过一次之后,下次还会找我们托运。
这个项目在今年我还没有开放,这一期是第一次给学员开放,先布局抢占市场,最近只是发了朋友圈,这个项目我觉得后期完全适合先全职ALL in互联网的人
最新的一些数据给大家展示一下:
![图片[10]-第8期【稳品计划】招募中~选对产品深耕,稳住心态前行!-涛哥](https://www.taoge888.com/wp-content/uploads/2026/04/20260403144530166-a3cb9f46ae9bfd33f632001d1c432363-1024x683.png)
项目流程:这个项目的主要流程其实挺简单的。
1)发作品。
视频做起来很简单,10分钟1个。
3)引流。评论区引流到粉丝群,粉丝群里再导流到微信。目前用企微,企微做这种合规生意特别爽,加多少人都不封号。因为业务非常合规,就是企微最喜欢的业务模型。(涛哥这边也给学员提供企业主体)
4)客服成交,有一套固定的话术,发给客户就行了,然后客户支付定金,确定托运日期和联系方式,我们把这些数据报给服务商。
5)服务商安排托运,客户收到之后,支付我们尾款。我们支付费用给服务商,赚取中间差价,一单利润100-500之间,200-300居多。
不需要我们垫付资金,没有任何风险。
三、稳品计划:4个附赠产品
附赠产品是对VIP额外赠送的,在咱们核心产品跑通以后,可以通过附赠产品去增加点额外收入。
附赠产品1:快手截流双渠道玩法
快手无人直播结合短视频玩法去年就开始交付了,一开始没打算对外但是为什么说要上呢?
其实源于7天前的一次线下沟通,当时一个河北的朋友过来,可以对接无人直播+快手视频带货玩法,我当时的第一反应是无人直播不会是封号违规吗?
我觉得不是特别稳定就愣了几天。
但是这兄弟他说,他们的技术比较稳,从今年的6月一直到现在,每天虽说不多,后端一天保底能有个750~900+
那我就觉得这事情靠谱。
然后自己技术团队每天给我反馈来的数据,是打消了我之前的顾虑。
先看一下咱们截流双渠道玩法的图文带货数据:
![图片[11]-第8期【稳品计划】招募中~选对产品深耕,稳住心态前行!-涛哥](https://www.taoge888.com/wp-content/uploads/2026/04/20260403145458459-image.png)
![图片[12]-第8期【稳品计划】招募中~选对产品深耕,稳住心态前行!-涛哥](https://www.taoge888.com/wp-content/uploads/2026/04/20260403145512271-image.png)
说一下优缺点:
优势:操作简单,挂机操作,不需要繁琐的操作流程,批量发布视频然后挂着无人即可,没有封号的风险,适合手残党
缺点:流量不稳定,前期需要大量铺视频进行起号,对于视频带货这一块实话实说拼概率的,但是一单起号成功,被动确实非常香
附赠产品2:流量获客玩法
免费流量-电商打粉引流
免费流量的引流渠道:市面上90%的人基本上是靠电商品引流,就好比大家从闲鱼、淘宝、拼多多、小红书买资料加到我一样。
打粉也就是引流,先跟大家说清楚,玩打粉最关键的一点是啥?就俩字:找个靠谱、正规的后端合作!(这里我可以直接给大家回收)
项目很简单,基本上手就会。我们主要是教你在各个自媒体平台引流创业粉(小红书,闲鱼,哔哩哔哩等各大平台),目前这个项目是做最简单的闲鱼,别的平台后续也会增加。
怎么做?
我们提供商品资料关键词,以及发布商品的方法和运营体系。最重要的是后期教你如何产生裂变,因为一个人打粉的量 是有限的,裂变可以放大你的引流数量。你用你的闲鱼账号发布,有客户下单后,让他加我微信领取资料即可,只要他加了我,我按照人数给你结算流量费,每天拿1个小时即可操作,当然时间越多越好,时间自由纯挂机,这个资料收益也归你!当然如果你是小工作室和团队也可以给自己引流
你每天的总收益=引流粉丝数量+出售商品的收益
![图片[13]-第8期【稳品计划】招募中~选对产品深耕,稳住心态前行!-涛哥](https://www.taoge888.com/wp-content/uploads/2026/02/20260221164016512-image-460x1024.png)
![图片[14]-第8期【稳品计划】招募中~选对产品深耕,稳住心态前行!-涛哥](https://www.taoge888.com/wp-content/uploads/2026/02/20260221164230424-image-460x1024.png)
![图片[15]-第8期【稳品计划】招募中~选对产品深耕,稳住心态前行!-涛哥](https://www.taoge888.com/wp-content/uploads/2026/02/20260221164132673-image-473x1024.png)
![图片[16]-第8期【稳品计划】招募中~选对产品深耕,稳住心态前行!-涛哥](https://www.taoge888.com/wp-content/uploads/2026/02/20260221164142951-image-478x1024.png)
单月给我引流达到3000粉兜底2万,单月给我引流达到10000粉兜底10万。当然你也可以给你自己引流,自己去承接转化。
付费流量-小红书、B站等平台进行投放
简单的说就行,给平台上交保护费,在平台花钱投流,但是很多人一听到这会说,花钱谁不会,错了,核心在于如何使内容过审核,如何使封面图做的更为吸睛,因为对于小红书而言是封面为王。
目前我们的整体粉丝获客成本也就是在7-15左右,我相信大家都知道小红书,也有很多通过小红书加到我的粉丝,小红书的群体属于有认知的,有判断能力,而且愿意付费的高质量人群(前提你有价值,你的产品够硬,运营体系比较完善)
请叫我天才小投手哈哈
![图片[17]-第8期【稳品计划】招募中~选对产品深耕,稳住心态前行!-涛哥](https://www.taoge888.com/wp-content/uploads/2025/01/20260304214211164-378a2d589bddfa69bdd53de9c71a441c-1024x768.jpg)
我是喜欢做投放的,简单高效,而且从古至今能用钱解决的问题,我觉得是最简单的,像封面图的制作我都会根据你们的行业进行制作。
服务内容:依据你的行业我会进行调研,封面图会帮你们制作,毕竟投放这一块整个副业圈,貌似没有人会系统性的教,因为时间成本太大了,我需要依据你们的行业进行设计
说一些付费投流的优缺点:
优点;简单高效,效果立竿见影,给平台交保护费,必然会流量倾斜给你,粉丝质量优质,适合有着完善的体系,但是缺精准客户的人群。
缺点:就是花钱,花钱,花钱。投放顾名思义,花钱买流量,单粉丝的成本基本上7-15元左右,个别特殊行业另说
附赠产品3:AI微课件
AI微课件的项目原理:利用AI工具辅助完成ppt,课程设计,视频剪辑,完成获得对应报酬,单笔费用30~500元不等,单份作品耗时时间短。
这个产品属于上手操作熟练以后即可变现,属于技能变现或者叫做时间能效变现,因为不缺单子,只要你不嫌累,单子我这边可以给你一直提供。当然你也可以自己找单子,我也会教你找单的方法,同时也会给你提供单子。
这个不需要长期的沉淀,多劳多得,前期3-5天数量操作以后,即可每天接单,收益依据你的时间而定,看你每天接多少单子。
这个产品的优缺点:
优点:不需要长时间铺垫,不受平台制约,技能学会以后即可接单变现,操作逻辑简单,强烈推荐上班族和宝妈群体,我一直觉得女性是比较有耐性的。
缺点:收入有上限,毕竟一个人一天的精力是有限的,你一天接多少单子取决你的熟练度,有人一天接1单,有人一天接5单,看你完成单子的速度。属于操作了技能变现的产品。
附赠产品4:抖音不露脸直播带货玩法
这个玩法属于半无人,就是虽然不需要你露脸,当时需要你说话,按照固定的话术模板,也是属于一个比较舰导弹的玩法,还能锻炼自己的语言表达能力。这个玩法没啥可说的,底层逻辑很简单,像一些附赠的小玩法太多了,只是在我们操作核心产品之余,打发时间操作的产品而已。
看下这数据还是可以的:
![图片[22]-第8期【稳品计划】招募中~选对产品深耕,稳住心态前行!-涛哥](https://www.taoge888.com/wp-content/uploads/2026/04/20260403155244967-862bccb2302e984780784fca94abbf25-768x1024.jpg)
![图片[23]-第8期【稳品计划】招募中~选对产品深耕,稳住心态前行!-涛哥](https://www.taoge888.com/wp-content/uploads/2026/04/20260403155404923-8f56400eb0335e8e26f342e9e41f1429-1024x576.jpg)
后续一年之内新增的产品,会继续给大家新增,作为涛哥的学员,你们永远不缺产品做,也不缺产品卖!预计一年之内会继续新增2~4套可以落地的玩法!!
每一次选择希望都是慎重考虑后的决定
注意:希望每一个看到这里的粉丝,都要明白,无论多么牛逼的模式,多么高大上的名词,最终都要回归产品,所以你们只需要筛选一个靠谱的产品即可
四、跟着涛哥,你能得到什么?
- 我这边的资源你都可以对接,产品端+流量端都给你解决了,因为咱们不缺产品也不缺获取流量的方法,更不缺投放的技术,连能落地的运营教学都一并给到。教你的都是真干货运营技巧,说实话,外面同行还真没有这么全的资源,大家可以自行对比
- 课程都是经过验证的真东西,项目也是精挑细选出来的,垃圾项目咱根本不碰。引流技术和运营思路,都是我自己上手实操整理的,享受涛哥以及团队核心成员一对一的建议指导。
- 后续有新项目、新素材工具,会永久给你更新,这是与外面割韭菜的区别。只要你真心想做,在我们能力范围内,肯定尽全力给你做后端支持。涛哥《稳品计划》不是卖课,而是做服务,我想把这个行业做成我心里想的一个服务型公司。服务的本质:利他为始,价值为终。
- 市场和平台规则变得快,我会不定期更新项目玩法和操作思路,所有学员都能共享这些课程,不会二次付费。
- 涛哥既然能够露脸活跃在互联网上,那就是不搞虚的,不割韭菜!一句话: 你为信任买单,我为信任兜底!
另外:知识付费一定不是为产品服务,而是为人服务,所以涛哥这里从来不会按照单产品收费,而是按一年的服务收费,这样你们才能实实在在的能够给自己多一份选择少一份支出,因为我一年的产品基本上可以涵盖目前市面上能够落地的所有产品了
五、不是所有人都可以报名
经过这么多年的行业沉淀,我们知道,不是任何一个副业都适合所有人
什么样的人适合参加?
想报名?先看这里。我们绝不接受“交钱就行”,你必须同时满足以下3个条件:
✅ 1. 有稳定的经济基础
学费对你来说应是轻松承担的开支。
如果你目前生活压力大、资金紧张,请一定不要来——学习阶段不该因投入而产生焦虑,我们要你全程专注、无后顾之忧。
✅ 2. 你承诺:学了就做,狠狠执行
我们会提供全套方法、工具与资源,但如果你只学不用,一切等于零。
真正的成绩,来自于持续而扎实的行动。
请确认:你愿意付出行动,并坚持到底。
✅ 3. 尊重学习氛围,维护共同环境
为保证每位学员的学习体验,我们谢绝以下类型的人参与:
- 摆出“大爷”姿态、缺乏基本尊重的人
- 不愿空杯学习、固守旧认知的人
- 动机不纯、试图窃取资源或挖角的同行,学习场是净土,不欢迎“噪音”。
如果你完全认同以上3点,欢迎继续往下看——
这里,或许就是你一直在找的起点。
每一期交付固定人数
涛哥团队与其它团队的本质区别是:不讲太多理论,我和我的助教,群里你提问,都是直接一对一解决问题。
并且每天随时答疑!并且每天随时答疑!并且每天随时答疑!并且每天随时答疑!
所以,我们有严格的人数限制:包含新增玩法的,所以只能接受30名学员参加学习,超人数的,将安排在下一期交付营学习,等待下一期训练营(每一期价格都会有所上涨)。愿意保留名额的给你按这一期的优惠价格保留,不愿意保留名额的,定金直接退回,到时候再上车的话就按最新一期价格走
这一点很重要,上一期我们拒绝了3位学员的报名,各种各样的人都有…所以并不是每一个都适合!
这一期费用问题
1、A单套副业版本
仅仅包含1种的玩法及思路,不包含新产品和赠品。
凡是前15名的老铁,在5月31号前报名,能最高优惠1000,后期原价
交付周期:半年,半年之后续费半价。
2、B多套方案版本
多套方案版,以上所包含的7套交付内容+赠品均都有!并且1 年内会根据行业趋势与实操反馈,持续更新 2-4 套实操玩法给大家(保底是2套我们拿到结果的内容,单个外面售价可能超过2000+的)。
交付周期:1年,并且交付期1年之内所更新的付费内容全部保证同步更新,1年后续费半价。
凡是前15名的老铁,在5月31号前报名,最高优惠能有1000,后期原价。
| 区别 | A版本 | B版本 |
| 交付周期 | 6个月 | 12个月 |
| 交付数量 | 1个 | 7个,包含赠送的4个 |
| 交付保障 | 1年内无更新 | 1年内更新所有内容不二次收费 |
如果在涛哥这里都拿不到结果,基本上可以退网了!感兴趣的现在可以直接私聊涛哥了!
引用导员的一句话:
![图片[24]-第8期【稳品计划】招募中~选对产品深耕,稳住心态前行!-涛哥](https://www.taoge888.com/wp-content/uploads/2025/01/20251014013620170-0edfd6fe7b66c6922c287f35119be961-751x1024.jpg)





![图片[18]-第8期【稳品计划】招募中~选对产品深耕,稳住心态前行!-涛哥](https://www.taoge888.com/wp-content/uploads/2026/04/20260403151219879-2635ee48c480adb5feb9668ca08bf345-472x1024.jpg)
![图片[19]-第8期【稳品计划】招募中~选对产品深耕,稳住心态前行!-涛哥](https://www.taoge888.com/wp-content/uploads/2026/04/20260403151218818-55c0fd890579bfa1cb63fda23e9f98a9-472x1024.jpg)
![图片[20]-第8期【稳品计划】招募中~选对产品深耕,稳住心态前行!-涛哥](https://www.taoge888.com/wp-content/uploads/2026/04/20260403151220352-09526c5b3275a7952d6d93e7a9f9eab9-472x1024.jpg)
![图片[21]-第8期【稳品计划】招募中~选对产品深耕,稳住心态前行!-涛哥](https://www.taoge888.com/wp-content/uploads/2026/04/20260403151220137-53824b2c668b9a1c00ad210721ba7109-472x1024.jpg)
















![表情[qiang]-涛哥](https://www.taoge888.com/wp-content/themes/zibll/img/smilies/qiang.gif)
![表情[fendou]-涛哥](https://www.taoge888.com/wp-content/themes/zibll/img/smilies/fendou.gif)

暂无评论内容